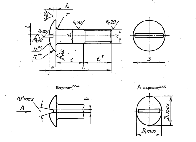
Wkręt 3059A

4AERO.SPACE

Wkręty lotnicze ze łbem soczewkowym

3058A 3-8mm
3059A 3-8
3061A 3-8mm
3062A 5-8
=
Powłoka ochronna: kadm, cynk.

© Copyright 2021 4AERO.SPACE -  Regulamin- Polityka prywatności - Polityka cookies - PZL-104 WILGA
Research and knowledge-dissemination organisation (COMMISSION REGULATION (EU) No 651/2014)